Категории
Кран шаровой стандартнопроходной 384 с фланцем для установки привода фланцевый PN25
Характеристики
Макс. температура (Т) °С.: до +80 °С
Мин. температура (Т) °С.: до -40 °С (исп. У), до -60 °С (исп. ХЛ)
Класс герметичности: Класс «А» ГОСТ 9544-2015
Срок службы: Не менее 40 лет.
Гарантийный срок: 3 года или не менее 10 000 циклов
Тип присоединения:
фланцевый/фланцевый
Рабочая среда:
Природный газ, сжиженный углеводородный газ и другие газообразные среды, неагрессивные для материалов деталей крана.
Модификации
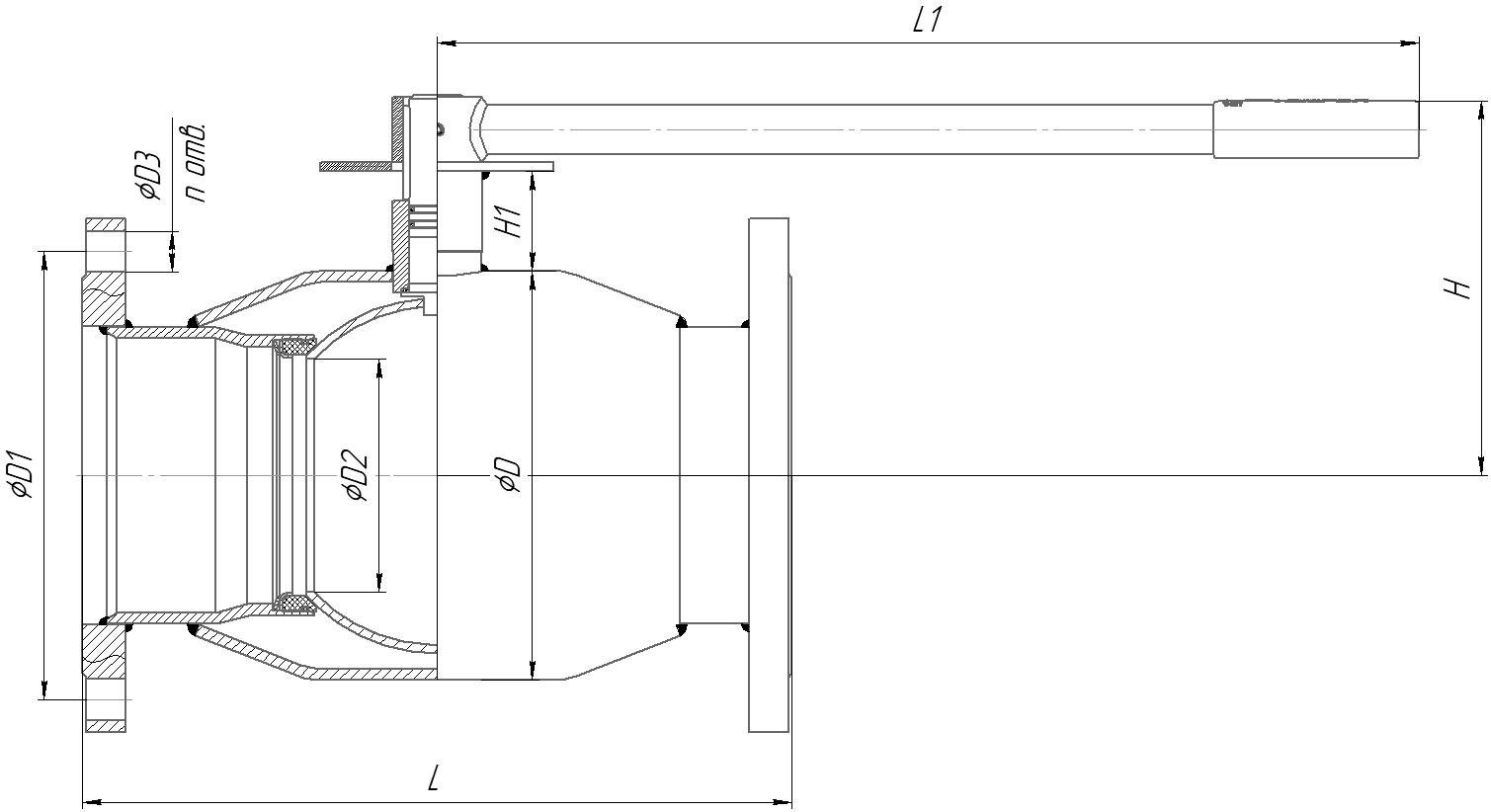
| Артикул | DN | PN | L | L1 | H | H1 | D | D1 | D2 | D3 | N OF HOLES | Вес | |
|---|---|---|---|---|---|---|---|---|---|---|---|---|---|
| 38420125 | 125 | 25 | 350 | 525 | 187 | 50 | 180 | 210 | 100 | 26 | 8 | 31,30 | |
| 38420150 | 150 | 25 | 380 | 525 | 203 | 48 | 219 | 240 | 125 | 26 | 8 | 38,70 | |
| 38420200 | 200 | 25 | 450 | 525 | 228 | 45 | 273 | 295 | 148 | 26 | 12 | 58,35 | |
| 38420250 | 250 | 25 | 530 | 1030 | 273 | 51 | 351 | 355 | 200 | 30 | 12 | 108,50 | |
| 38420300 | 300 | 25 | 750 | - | 414 | 101 | 426 | 410 | 240 | 30 | 16 | 163,00 | |
| 38420350 | 350 | 25 | 750 | - | 464 | 100 | 530 | 470 | 300 | 33 | 16 | 282,00 | |
| 38420400 | 400 | 25 | 880 | - | 464 | 100 | 530 | 525 | 300 | 33 | 16 | 357,00 | |
| 38420500 | 500 | 25 | 990 | - | 561 | 103 | 630 | 650 | 390 | 39 | 20 | 617,00 |